Монтаж
![]() |
Колючая проволока Егоза
|
![]() |
|
|||||||||||||||||
![]() |
||||||||||||||||||
![]() |
Егоза ограждения из колюче-режущей проволоки
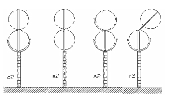
Варианты установки кронштейнов
для монтажа ЗАКЛЗ в один уровеньЗАКЛЗ Егоза монтируется на любые виды заборов, а также при отсутствии их, на земле в один или несколько рядов. На объектах особого назначения наши специалисты могут проконсультировать Вас по созданию других видов препятствий со 100% эффективностью учитывая минимальные затраты.
Прежде чем сделать заказ на покупку колючей проволоки, Спирального барьера безопасности Егоза, выясните для себя следующие вопросы:
Где и как вы хотите установить колючую проволоку Егоза:
- по земле
- поверху забора
- сбоку с внутренней или внешней стороны забора
- в один или в два ряда
- будет ли установка продублирована одиночной не спиральной Егозой?
Если затрудняетесь ответить, вам помогут консультанты предприятия-производителя.
Измеряйте длину (периметр) предполагаемой монтируемой линии.Вопрос длины — очень важный момент, в случае неверного подсчета можно потерять лишние финансовые средства. Поэтому если вы заранее знаете, что будете заказывать монтаж у профессиональной бригады монтажников, доверьте это сделать им самостоятельно.
Решите, какой диаметр витка вам подойдет:
400 мм, 600 мм, 800 мм или 950 мм. Безусловно, чем больше виток спирали, тем больше степень эффективности. В любом случае, даже Егоза с наименьшим диаметром витка удовлетворяет высоким требованиям безопасности.
Варианты установки кронштейнов
для монтажа в ЗАКЛЗ в два уровня
Варианты монтажа ЗАКЛЗ на открытых площадках
(аэропорты, взлетно-посадочные полосы и т.п.)
Доставка и монтаж колючей проволоки Егоза в любой географической точке.
Доставка колючей проволоки Егоза по Украине за одни сутки.
Гарантия на изделия и выполненные работы 25 лет.
Производство колючей проволоки Егоза © ООО Торговый дом «Кайман», 2006





.gif)
.gif)
.gif)